1. Общее описание

CSV-uploader - программный модуль Витрины данных, который предназначен для загрузки CSV-файлов в Витрину данных.

CSV-uploader предназначен для следующих задач:

  • формирование структуры витрины, заливка ddl, в том числе через GUI;

  • подготовка шаблонов csv, в том числе через GUI;

  • загрузка данных в витрину, через GUI с ручным/автоматическим выбором таблицы при помощи REST-Uploader;

  • загрузка CSV-файлов;

  • загрузка CSV-файлов со структурой Витрины;

  • выгрузка CSV-шаблонов с демо-шаблонами структуры Витрины;

  • автоматическая загрузка данных в витрину по расписанию.

Внимание

Загружаемые файлы обязательно должны быть в кодировке UTF-8

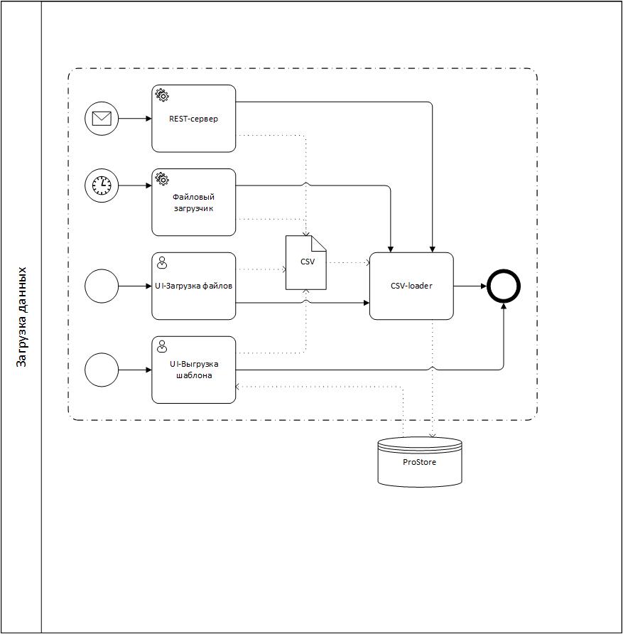
1.1. Общая схема взаимодействия через CSV-uploader

Общая схема взаимодействия через CSV-uploader

Рисунок - 1.4 Общая схема взаимодействия через CSV-uploader